| Estado de Disponibilidad: | |
|---|---|
| Cantidad: | |
Banco de pruebas de medidor de gas con boquilla sónica tipo GNP
1、General
• La instalación de prueba de boquilla sónica GNP para medidores de gas es una instalación de prueba automática de nueva generación con alta precisión, alta eficiencia y buena estabilidad.
• La instalación de prueba está compuesta por una boquilla sónica, un sistema de muestreo de imágenes dinámicas, un banco de pruebas, una bomba de vacío sin aceite, un circuito de control de gas, un sistema de un solo chip y una PC, etc. Adopta una boquilla sónica como estándar principal, las boquillas serán seleccionadas automáticamente por la PC de acuerdo con diferentes caudales.Se introduce la tecnología de conversión A/D de un solo chip y de alta precisión para medir automáticamente la temperatura, la presión y la humedad, lo que implica el cálculo y la corrección de errores.Por lo tanto, para garantizar la precisión de las instalaciones de prueba.Todo el sistema puede realizar una prueba automática completa bajo el control de una PC y tiene la función de guardar, consultar e imprimir los datos originales.
• La instalación de prueba puede llevar a cabo una prueba automática hacia el medidor de gas de diafragma G1.6, G2.5, G4.0 de acuerdo con JJG577-2012.El sistema tiene muestreo dinámico de imágenes, entrada de escaneo de código de barras, interruptor de lengüeta de recepción automática y señal de pulso del medidor de gas, auto compensación para temperatura y presión, juicio de error, consulta de datos, función de almacenamiento e impresión.
2、Característica principal
• Adecuado para el error de prueba del medidor de gas de diafragma doméstico G1.6, G2.5, G4.0 con tres caudales Qmax,0,2 Qmáx y Qmín
• Adopte la boquilla sónica Venturi como estándar,seleccione automáticamente la mejor combinación de boquillas por computadora de acuerdo con diferentes caudales.
• Varios medidores de gas para probar simultáneamente en conexión en serie, lo que mejora en gran medida la eficiencia de la prueba
• Seleccione automáticamente para probar el medidor de gas de la entrada izquierda o la entrada del lado derecho mediante la válvula de conmutación
• La señal de lectura del medidor de gas se puede recopilar rápidamente,con precisión y fiabilidad a través del procesador de imagen dinámico
• Señal de interruptor de lengüeta de recepción automática y salida de señal de pulso por medidor de gas de tarjeta IC
• Después de la prueba,el sistema seleccionará automáticamente la mejor velocidad de transmisión del medidor de gas
• Sensor de precisión,El sistema de un solo chip y la tecnología de conversión A/D de alta precisión se introducen para medir automáticamente la temperatura, la presión y la humedad, involucradas en el cálculo y la corrección de errores en tiempo real, para garantizar así la precisión del banco de pruebas.
• Todo el sistema puede realizar una prueba automática completa bajo el control del software.La interfaz del software se caracteriza por una apariencia agradable y fácil operación.Los datos de prueba y el resultado del análisis pueden vincularse con Excel para completar el informe de prueba rápidamente.También tiene almacenamiento de datos.,impresión de certificados,Análisis y función estadística.
3、Característica del procesador de imágenes dinámicas
• Alta eficiencia: el procesador de imagen dinámico no solo reconoce el contador del medidor de gas, sino que también cuenta el número y el tiempo automáticamente.De este modo,significa acortar el tiempo de funcionamiento vacío antes del medidor de gas de prueba.Especialmente para 0.2Qmax y Qmin, que mejoran enormemente la eficiencia.Si lo comparamos con el muestreo optoelectrónico, el procesador de imagen dinámico puede mejorar la eficiencia entre un 20 % y un 40 %.
• Prueba de larga distancia: el procesador de imagen dinámica tiene un píxel alto, podemos ampliar 7cm entre cámara y medidor de gas.
• Alta tasa de recopilación: el procesador de imágenes dinámicas tiene una tasa de éxito superior al 99% que recopila la señal del medidor de gas.Supera el ajuste manual, dificulta el enfoque, incluso recoge la señal de forma inestable después del ajuste.
Procesador de imagen dinámica
4、Condiciones ambientales de trabajo
• Temperatura ambiente:20±5℃
• Humedad relativa: 30%~80%
• Presión barométrica: 86~106 kPa
• medios de trabajo:aire
• Fuente de alimentación:220 VCA
• Suministro de aire comprimido:por encima de 0,4 MPa
• Tamaño de la instalación:4,8 m(L)*0,61 m(W)*1,8 m(H)
5、Estructura del sistema y principio de funcionamiento
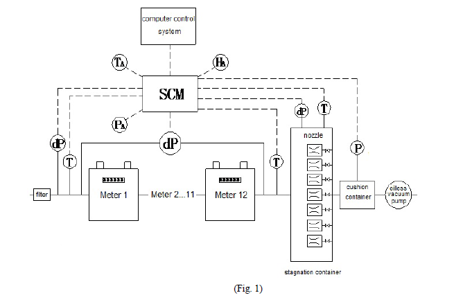
5.1 Estructura del sistema(Figura 1)
5.2 Principio de funcionamiento
El equipo adopta la boquilla sónica Venturi como estándar.La boquilla sónica Venturi se caracteriza por una estructura simple, rendimiento estable, alta precisión, fácil mantenimiento, círculo de verificación largo (5 años), sin piezas móviles, etc.
(Boquillas sónicas)
Durante el funcionamiento, el flujo de aire en la tubería se realiza mediante bombeo.El aire ingresa al medidor bajo prueba a través del filtro, el sistema de conmutación izquierdo y derecho, luego al contenedor de estancamiento y luego al contenedor de amortiguación a través de la boquilla sónica y la válvula de control, finalmente a la atmósfera a través de una bomba de vacío sin aceite.Cuando el flujo de gas a través de la boquilla sónica alcanza un estado crítico, la masa y el caudal que pasan a través del medidor bajo la boquilla sónica de prueba se mantendrán sin cambios.
Entonces, el flujo a través de la boquilla sónica dentro del tiempo es seguro.Mientras tanto, el sistema recibirá la señal de muestreo del medidor de gas.,señal del sensor de temperatura, señal del sensor de presión, señal del sensor de humedad,obtener error del medidor de gas después de la corrección automática hacia esa temperatura,factor de influencia de la presión y la humedad.
6、Especificación técnica principal
• Incertidumbre del sistema:±0.5%
• Adecuado para probar G1.6,G2.5,Medidor de gas de diafragma G4.0
• Medidor a probar:6, 8, 12 piezas
7、Instalación y puesta en marcha
• Procedimiento de instalación
• Conecte el banco de pruebas y la computadora
• Conecte la alimentación del sistema y la fuente de aire
• Encienda la computadora, instale la base de datos y el software de prueba especial
8、Procedimiento de puesta en marcha
• Compruebe si todos los ajustes de parámetros son correctos
• Compruebe si la comunicación entre la computadora y el banco de pruebas es normal
9、Instalación de software
• Requisitos del sistema
• Procesador Intel Pentium III de 866 MHz
• Sistema Windows XP o Windows7
• 2 GB de espacio libre en disco
• CD-ROM VELOCIDAD 4X
• 2 interfaz USB
• Puerto serial RS-232
10、Imagen de la instalación
Instalación de prueba de boquilla sónica para medidor de gas(12 posiciones)
11、Lista de configuración
Artículo | Partes principales | Marca | Parámetro | Calidad |
1 | Boquillas sónicas | 0.016、0.025、 0.04、0.5、0.8、1.2、4m³/h | 7establecer | |
2 | Sensor de presión absoluta | 80~120 kPa | 1 establecer | |
3 | Sensor de presión | ±10 kPa | 3 establecer | |
4 | Sensor de temperatura | 0-50 ℃,±0.2℃ | 3 establecer | |
5 | Sensor de humedad | 0~100%,≤3% | 1 establecer | |
5 | Procesador de imagen dinámica | 7 enfoque automático | 12 establecer | |
6 | Bomba aspiradora | 1.25KW | 1 establecer | |
7 | ordenador personal | I39100/4G/SSD256 | 1 establecer | |
8 | Impresora | A4 | 1 establecer | |
9 | Sistema de válvulas | / | 1 establecer |
Banco de pruebas de medidor de gas con boquilla sónica tipo GNP
1、General
• La instalación de prueba de boquilla sónica GNP para medidores de gas es una instalación de prueba automática de nueva generación con alta precisión, alta eficiencia y buena estabilidad.
• La instalación de prueba está compuesta por una boquilla sónica, un sistema de muestreo de imágenes dinámicas, un banco de pruebas, una bomba de vacío sin aceite, un circuito de control de gas, un sistema de un solo chip y una PC, etc. Adopta una boquilla sónica como estándar principal, las boquillas serán seleccionadas automáticamente por la PC de acuerdo con diferentes caudales.Se introduce la tecnología de conversión A/D de un solo chip y de alta precisión para medir automáticamente la temperatura, la presión y la humedad, lo que implica el cálculo y la corrección de errores.Por lo tanto, para garantizar la precisión de las instalaciones de prueba.Todo el sistema puede realizar una prueba automática completa bajo el control de una PC y tiene la función de guardar, consultar e imprimir los datos originales.
• La instalación de prueba puede llevar a cabo una prueba automática hacia el medidor de gas de diafragma G1.6, G2.5, G4.0 de acuerdo con JJG577-2012.El sistema tiene muestreo dinámico de imágenes, entrada de escaneo de código de barras, interruptor de lengüeta de recepción automática y señal de pulso del medidor de gas, auto compensación para temperatura y presión, juicio de error, consulta de datos, función de almacenamiento e impresión.
2、Característica principal
• Adecuado para el error de prueba del medidor de gas de diafragma doméstico G1.6, G2.5, G4.0 con tres caudales Qmax,0,2 Qmáx y Qmín
• Adopte la boquilla sónica Venturi como estándar,seleccione automáticamente la mejor combinación de boquillas por computadora de acuerdo con diferentes caudales.
• Varios medidores de gas para probar simultáneamente en conexión en serie, lo que mejora en gran medida la eficiencia de la prueba
• Seleccione automáticamente para probar el medidor de gas de la entrada izquierda o la entrada del lado derecho mediante la válvula de conmutación
• La señal de lectura del medidor de gas se puede recopilar rápidamente,con precisión y fiabilidad a través del procesador de imagen dinámico
• Señal de interruptor de lengüeta de recepción automática y salida de señal de pulso por medidor de gas de tarjeta IC
• Después de la prueba,el sistema seleccionará automáticamente la mejor velocidad de transmisión del medidor de gas
• Sensor de precisión,El sistema de un solo chip y la tecnología de conversión A/D de alta precisión se introducen para medir automáticamente la temperatura, la presión y la humedad, involucradas en el cálculo y la corrección de errores en tiempo real, para garantizar así la precisión del banco de pruebas.
• Todo el sistema puede realizar una prueba automática completa bajo el control del software.La interfaz del software se caracteriza por una apariencia agradable y fácil operación.Los datos de prueba y el resultado del análisis pueden vincularse con Excel para completar el informe de prueba rápidamente.También tiene almacenamiento de datos.,impresión de certificados,Análisis y función estadística.
3、Característica del procesador de imágenes dinámicas
• Alta eficiencia: el procesador de imagen dinámico no solo reconoce el contador del medidor de gas, sino que también cuenta el número y el tiempo automáticamente.De este modo,significa acortar el tiempo de funcionamiento vacío antes del medidor de gas de prueba.Especialmente para 0.2Qmax y Qmin, que mejoran enormemente la eficiencia.Si lo comparamos con el muestreo optoelectrónico, el procesador de imagen dinámico puede mejorar la eficiencia entre un 20 % y un 40 %.
• Prueba de larga distancia: el procesador de imagen dinámica tiene un píxel alto, podemos ampliar 7cm entre cámara y medidor de gas.
• Alta tasa de recopilación: el procesador de imágenes dinámicas tiene una tasa de éxito superior al 99% que recopila la señal del medidor de gas.Supera el ajuste manual, dificulta el enfoque, incluso recoge la señal de forma inestable después del ajuste.
Procesador de imagen dinámica
4、Condiciones ambientales de trabajo
• Temperatura ambiente:20±5℃
• Humedad relativa: 30%~80%
• Presión barométrica: 86~106 kPa
• medios de trabajo:aire
• Fuente de alimentación:220 VCA
• Suministro de aire comprimido:por encima de 0,4 MPa
• Tamaño de la instalación:4,8 m(L)*0,61 m(W)*1,8 m(H)
5、Estructura del sistema y principio de funcionamiento
5.1 Estructura del sistema(Figura 1)
5.2 Principio de funcionamiento
El equipo adopta la boquilla sónica Venturi como estándar.La boquilla sónica Venturi se caracteriza por una estructura simple, rendimiento estable, alta precisión, fácil mantenimiento, círculo de verificación largo (5 años), sin piezas móviles, etc.
(Boquillas sónicas)
Durante el funcionamiento, el flujo de aire en la tubería se realiza mediante bombeo.El aire ingresa al medidor bajo prueba a través del filtro, el sistema de conmutación izquierdo y derecho, luego al contenedor de estancamiento y luego al contenedor de amortiguación a través de la boquilla sónica y la válvula de control, finalmente a la atmósfera a través de una bomba de vacío sin aceite.Cuando el flujo de gas a través de la boquilla sónica alcanza un estado crítico, la masa y el caudal que pasan a través del medidor bajo la boquilla sónica de prueba se mantendrán sin cambios.
Entonces, el flujo a través de la boquilla sónica dentro del tiempo es seguro.Mientras tanto, el sistema recibirá la señal de muestreo del medidor de gas.,señal del sensor de temperatura, señal del sensor de presión, señal del sensor de humedad,obtener error del medidor de gas después de la corrección automática hacia esa temperatura,factor de influencia de la presión y la humedad.
6、Especificación técnica principal
• Incertidumbre del sistema:±0.5%
• Adecuado para probar G1.6,G2.5,Medidor de gas de diafragma G4.0
• Medidor a probar:6, 8, 12 piezas
7、Instalación y puesta en marcha
• Procedimiento de instalación
• Conecte el banco de pruebas y la computadora
• Conecte la alimentación del sistema y la fuente de aire
• Encienda la computadora, instale la base de datos y el software de prueba especial
8、Procedimiento de puesta en marcha
• Compruebe si todos los ajustes de parámetros son correctos
• Compruebe si la comunicación entre la computadora y el banco de pruebas es normal
9、Instalación de software
• Requisitos del sistema
• Procesador Intel Pentium III de 866 MHz
• Sistema Windows XP o Windows7
• 2 GB de espacio libre en disco
• CD-ROM VELOCIDAD 4X
• 2 interfaz USB
• Puerto serial RS-232
10、Imagen de la instalación
Instalación de prueba de boquilla sónica para medidor de gas(12 posiciones)
11、Lista de configuración
Artículo | Partes principales | Marca | Parámetro | Calidad |
1 | Boquillas sónicas | 0.016、0.025、 0.04、0.5、0.8、1.2、4m³/h | 7establecer | |
2 | Sensor de presión absoluta | 80~120 kPa | 1 establecer | |
3 | Sensor de presión | ±10 kPa | 3 establecer | |
4 | Sensor de temperatura | 0-50 ℃,±0.2℃ | 3 establecer | |
5 | Sensor de humedad | 0~100%,≤3% | 1 establecer | |
5 | Procesador de imagen dinámica | 7 enfoque automático | 12 establecer | |
6 | Bomba aspiradora | 1.25KW | 1 establecer | |
7 | ordenador personal | I39100/4G/SSD256 | 1 establecer | |
8 | Impresora | A4 | 1 establecer | |
9 | Sistema de válvulas | / | 1 establecer |
A medida que mejora el nivel de vida y aumenta la conciencia sobre la protección del medio ambiente, la gente ha pasado de utilizar combustibles convencionales como la leña y el carbón, que son derrochadores y contaminantes, a utilizar energías limpias como el gas natural y el gas, o incluso la electricidad.Aquí es donde el medidor de gas de diafragma co
El medidor de gas civil de diafragma es un medidor de flujo de gas natural de desplazamiento positivo que utilizan las empresas de servicios públicos para facturar aplicaciones residenciales y comerciales ligeras.Sus ventajas son su tecnología comprobada, medición confiable y calidad constante.A continuación, echamos un vistazo al medidor de gas de diafragma
El medidor de gas de diafragma prepago con tarjeta IC es un medidor de gas de diafragma con una función de prepago.Se basa en un medidor de gas de diafragma con dispositivo de envío, utilizando una tarjeta IC como medio, equipado con un controlador electrónico y una válvula eléctrica.Este medidor de gas de diafragma prepago con tarjeta IC admite varios
El medidor de gas industrial prepago con tarjeta IC es un medidor de gas de diafragma comercial e industrial que incorpora lo mejor de los productos nacionales e internacionales.Ha sido desarrollado con el espíritu innovador y la experiencia de los medidores Kinhil durante más de 20 años.Estos medidores de gas son adecuados para el met
El medidor de gas de diafragma inteligente IoT es un medidor de gas de diafragma basado en tecnología Internet+.Proporciona a la compañía de gas información oportuna y precisa sobre el medidor.Al mismo tiempo, facilita el control remoto y la gestión remota del medidor de gas por parte de la compañía de gas.el metro basico
Aquí primero tomado de una persona en la industria: si la tecnología NB-IoT es permitir que el medidor de gas inserte las alas de la comunicación inteligente, entonces la tecnología de medición ultrasónica es inyectar el grupo muscular central para el medidor de gas, en la tecnología de medición ha sido esencialmente mejorado, por th
Hoy en día, la industria de medidores de flujo de gas ultrasónicos está en constante progreso en varios países, y las empresas de medidores de flujo de gas ultrasónicos se están embarcando gradualmente en el camino de la supervivencia y el desarrollo mediante una gestión fina, mejorando la calidad del servicio y cobrando por la gestión de la seguridad y la medición.
El medidor de flujo de gas ultrasónico se puede usar de varias maneras: ultrasónico, de presión, de temperatura y otra tecnología de control y detección compatible con múltiples sondas para seis categorías de rangos de gran tamaño.Un tipo especial de cámara con una invención patentada permite la autocalibración y el st más corto
Una plataforma de gestión de datos es un sistema que mejora el modelo de pago de energía tradicional al utilizar el modo de compra, uso y desconexión automática de electricidad para lograr la integración de excedentes, carga y control, haciendo que el pago de energía sea más fácil y eficiente.La comunicación de datos
La plataforma de gestión de datos se utiliza en las áreas de gestión de energía en complejos comerciales, áreas residenciales, edificios de oficinas, tiendas, escuelas, fábricas y minas.También reduce personal y costes durante el periodo, reduciendo significativamente los costes de facturación de la dirección y fomentando así la e
A medida que los niveles de vida continúan mejorando, las personas se vuelven cada vez más respetuosas con el medio ambiente y las fuentes de energía convencionales que contaminan mucho se están abandonando gradualmente.Con la construcción y popularización de los gasoductos han surgido los contadores de gas, de mecánicos
Medidor de gas ultrasónico para cortar los accidentes de gas de raíz Recientemente, las explosiones de gas han estado en la mente de personas de todo el mundo, y las noticias sobre la seguridad del gas están por todas partes.Con el rápido aumento en el número de usuarios de gas, los accidentes de seguridad relacionados con el gas en las ciudades se han convertido en la tercera causa de muerte i
Un medidor de gas ultrasónico es la base para la liquidación del comercio de energía.En los últimos años, se han favorecido los métodos de medición electrónicos, como el ultrasónico y el térmico, porque son más precisos y fiables, estables en su funcionamiento y libres de mantenimiento, y han supuesto un cambio importante en el medidor de gas.
A medida que los niveles de vida continúan mejorando, las personas se vuelven cada vez más conscientes del medio ambiente y las fuentes de energía convencionales que contaminan mucho se están abandonando gradualmente.En las décadas de 1960 y 1970, el estado también introdujo políticas de gasoductos y las medidas correspondientes.con la construcción
Un medidor de gas ultrasónico utiliza ondas de sonido para determinar la velocidad a la que fluye un fluido a través de una tubería.En condiciones sin flujo, la frecuencia de la onda ultrasónica transmitida a la tubería es la misma que la frecuencia que refleja del fluido.En condiciones de flujo, la frecuencia de la ref.
Un detector de fugas de gas se utiliza para la detección de fugas, pruebas de hermeticidad al gas y mantenimiento predictivo.La detección de ondas ultrasónicas suele referirse a la banda de frecuencia superior a 20 kHz, mientras que el límite superior del oído humano puede recibir 16,5 kHz, y el uso de esta característica, ultrasónica
Cómo usar el detector de fugas de gas Una alarma de fugas de gas es un instrumento utilizado para detectar la concentración de fugas de gas, que puede detectar la concentración de gas en el ambiente.Por ejemplo, hay algunos gases tóxicos y peligrosos o gases combustibles en la producción industrial, por lo que puede acelerar
El rápido desarrollo del negocio del gas urbano ha colocado la medición de gas en un lugar bastante importante.Los medidores de gas no solo se utilizan para la medición de transmisión en gasoductos y la medición de gas en empresas industriales y mineras e instituciones de bienestar, sino que también se popularizan en millones de h.
Según las estadísticas, el uso en línea de gas civil de diafragma ha superado los 50 millones de unidades.Con el desarrollo y la aplicación de gas natural en China, la primera y segunda líneas del proyecto 'Transmisión de gas oeste-este' y el proyecto 'Shaanxi Gas to Beijing', que se han completado o
Un medidor de gas civil de diafragma es un instrumento para la medición precisa del flujo de gas de la tubería, que se usa ampliamente en petróleo, productos químicos, energía eléctrica, calderas industriales y otros campos de medición de gas, aplicable al gas natural, gas ciudad, propano, butano, etileno , aire, nitrógeno y otros gases.T